搜索业务

律师随笔|用“青花椒”又要被维权?商家:麻了!

发布时间:2021.12.28点击次数:770

前有“逍遥镇”“潼关肉夹馍”商标纠纷问题闹得沸沸扬扬近日,四川数十家餐馆因使用“青花椒”三个字当店招,被上海万翠堂餐饮管理有限公司起诉索赔。接着上海万翠堂餐饮管理有限公司又出面致歉并表示将撤回全部诉讼。

图片

来源:网络






借知识产权之名,行霸权之事


 

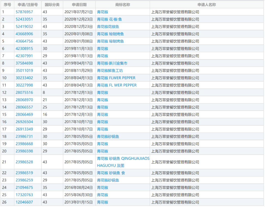
通过中国商标网检索发现,上海万翠堂餐饮管理有限公司拥有第12046607号、第17320763号、第21094675号等多件“青花椒”或包含“青花椒”字样的注册商标,核定使用在饭店、餐厅等服务及餐巾纸、餐具等商品上,相关商标最早申请于2013年1月15日。


图片

来源:中国商标网

据了解,12月27日,四川省市场监管局(省知识产权局)商标监督管理处表示:商户使用青花椒三个字,体现的是商户用料和经营特色,且不造成混淆误认,是可以的,不会让人联想到是上海万翠堂餐饮管理有限公司。此外,该公司最近几年申请的多个“青花椒”相关商标已被商标局驳回。

前不久,对于“逍遥镇”“潼关肉夹馍”的商标纠纷问题,国家知识产权局回应的一句说法发人深省:既要依法保护知识产权,又要防止知识产权滥用,处理好商标权利人、市场主体和社会公众之间的利益关系。这样的说法,应该成为社会各界的共识。





青花椒是一种植物的名称,也是一种香料的名称,

它能否作为商标注册?



我所张显显律师表示,“青花椒”能否作为商标获准注册,主要涉及到商标法规定的显著性问题,即注册商标应当具有显著性,便于识别。根据我国商标法第十一条的规定,“仅有本商品的通用名称、图形、型号的;仅直接表示商品的质量、主要原料、功能、用途、重量、数量及其他特点的;其他缺乏显著特征的。“不得作为商标注册。“青花椒”是一种植物名称,也是一种调味品或香料名称,故‘青花椒’用于指代调味品属于通用名称,缺乏显著性,显然不得作为商标注册在调味品类商品上。

但是“青花椒“并不是饭店、餐厅等服务领域的通用名称,作为一种调味品也不能说仅直接表示餐厅服务的主要原料,因此使用在饭店、餐厅等服务及餐巾纸、餐具等商品上可以判定为具有显著性的,可以作为商标注册。

使用“青花椒”是否侵权,要看其具体的使用方式和场景,如果使用场景仅是对调味品的描述性使用,那就不构成侵权,但是如果是用在招牌等处用于指示餐厅的名称,即商标性使用,则侵犯了“青花椒”注册商标专用权。


热门文章/POPULAR ARTICLES

关于执行异议之诉的那些事儿

《民事诉讼法》第二百二十七条规定:执行过程中,案外人对执行标的提出书面异议的,人民法院应当自收到书面异议之日起十五日内审查,理由成立的,裁定中止对该标的的执行;理由不成立的,裁定驳回。案外人、当事人

鹰卓新闻2021-06-18 12:54

2377

未签订书面劳动合同 劳动者无缘双倍工资赔偿

案情介绍:  刘某于2005年6月进入武汉某连铸公司工作,担任办公室主任一职,职责是人事招聘、劳动合同的签订及管理等。2009年7月,刘某以公司未与其签订书面劳动合同为由提起劳动仲裁申请,要求公司支

鹰卓新闻2021-06-18 12:20

2172

律师随笔|关于执行异议之诉的那些事儿

《民事诉讼法》第二百二十七条规定:执行过程中,案外人对执行标的提出书面异议的,人民法院应当自收到书面异议之日起十五日内审查,理由成立的,裁定中止对该标的的执行;理由不成立的,裁定驳回。案外

鹰卓视界2021-06-18 12:19

2394